高級會員
已認證
前言
新冠肺炎疫情影響下,我國工業和國民經濟受到較大沖擊。伴隨中央陸續出臺一系列政策措施,支持疫情防控,推動復工復產,國內初步呈現疫情防控形勢持續向好、生產生活秩序加快恢復的態勢。在此期間,粉體裝備企業都采取了哪些有效措施來應對疫情的沖擊?4月29日下午,中國粉體網記者電話連線采訪了國內知名的超細納米研磨&粉體包覆改性裝備供應商——無錫泰賢粉體科技有限公司(以下簡稱“無錫泰賢”)的總經理邊浩光先生。

中國粉體網:早在2012年,中國粉體網對無錫新光粉體科技有限公司邊總有過一次專訪;8年的時間過去了,請問貴公司有哪些變化?
邊總:2018年以后,無錫新光粉體發生了比較大的變動,原新光粉體被無錫泰基眾星智能裝備有限公司收購,其后泰基集團注資成立注冊了無錫泰賢粉體科技有限公司,無錫泰克勒智能科技有限公司,合資了無錫零一未來研究院與無錫亞控科技,公司走向了集團化的光明未來。
目前,國內員工人數、部門在不斷地增加,技術在趨于國際化。智能化設備已出口到美國、日本、韓國、挪威等國,國內所需市場約占50%的份額。現在的產品由單一產品向產線、智能化方向發展,尤其是在鋰電池材料行業的應用取得了顯著的發展。
無錫泰賢的裝備在粉體行業的應用也得到了大力的發展。電子陶瓷、特種陶瓷、化工、醫藥、食品、涂料、油墨等行業的粉體化,都離不開本公司的微納米粉碎分散研磨裝備以及表面顆粒設計的裝備,以及后期亞控帶來的粉體行業專用的mes軟件等系統。

棒銷式分散研磨機SMLYU系列
中國粉體網:無錫泰賢(原無錫新光)有30年的發展歷史,見證了眾多行業市場的興衰,無錫泰賢的產品應用領域有沒有什么轉變?目前的主要應用領域是什么?
邊總:泰賢(原新光)在1989年剛建廠時,主要從事電子陶瓷噴霧造粒設備;90年代中期,向微納米研磨分散裝備進軍;2000年后,開始拓展微納米粉體的表面設計、表面改性、包覆、融合等裝備。這些產品被廣泛應用于鋰電池正負極材料、導電劑、電子陶瓷、特種陶瓷材料、醫藥、化工、涂料、食品等粉體行業。
隨著應用領域的拓展,我們也在增進與客戶的緊密聯系,跟隨客戶的工藝研發,積極主動地進行裝備的技術創新,譬如前兩年開發的負極石墨的高溫瀝青包覆設備,更深入地從裝備技術、材料技術、工藝技術的結合去滿足客戶更高的需求。
中國粉體網:無錫泰賢有哪些獨具特色的設備和技術?這些設備和技術的研發,對相關行業的發展起到什么作用?在服務客戶方面,無錫泰賢有哪些舉措?
邊總:30年來,我們主張不做低端的重復性的工作,將研發方向瞄準國際先進,填補國內空白,進而與國內外客戶合作,緊隨工藝來自主創新我們的粉體裝備。這幾年我們自主開發的比較獨特的技術有:
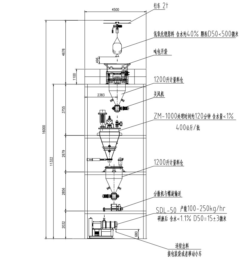
(1)目前高鎳三元正極材料產業化過程中的技術難點之一,是原材料氫氧化鋰的預處理問題。采用我們獨特的干燥-粉碎-計量一體化設備,能夠為客戶提供粒度分布更窄、更容易混合、成本更低的產線;

氫氧化鋰粉碎線

粉碎效果圖
(2)引進歐洲最近技術標準制造的高混機,解決鋰電正極材料混合包覆裝備質量問題,并突破高端pvc行業的高混機質量問題;

高速混合機FRM系列
(3)超高壓分散設備:目前我們可以提供濕法超高壓的分散和研磨系統,應用于石墨烯、單壁碳納米管、纖維素、高純度陶瓷等;

超高壓系統原理圖
(4)融合與包覆裝備:我們相繼開發了納米粉體對微米粉體的包覆、融合設備;納米粉體液態霧化方式包覆微米顆粒的設備、表面融合裝備,廣泛應用于鋰電正負極材料、塑料、涂料、醫藥、化妝品等新材料行業;

高溫包覆機VCJ系列
(5)金屬粉片狀化設備:打破國外專業領域壟斷,成套提供生產線,可應用于超導電導熱材料、摩擦材料、銅粉材料和有機硅催化劑等,主要應用領域有:電腦手機領域、汽車地鐵領域、光伏產品領域及有機硅產品領域。

干法粉碎機SDL系列

攪拌式球磨機HA系列
無錫泰賢擁有先進的粉體加工實驗室,配備國際尖端的激光粒度分析儀、粘度測量計等測量設備。實驗展示車間占地1800余平米,可對客戶來樣進行粉體干法和濕法的研磨、分散、攪拌、混合、包覆、改性、顆粒表面設計等各種售前工藝試驗。激情、誠信、創新、專注是我們對待產品和客戶的始終如一的堅持原則。
中國粉體網:在特種陶瓷粉體加工領域,無錫泰賢的裝備有哪些優勢?另外,您怎樣看特種陶瓷行業的發展前景?
邊總:無錫泰賢在陶瓷粉體行業深耕多年,積累了豐富的經驗,可針對不同物料提供不同的解決方案,并不斷研發符合客戶特殊需求的設備,得到了廣泛好評。客戶使用無錫泰賢的裝備,可以制備超細、形貌為球形的顆粒。我們在陶瓷領域的優勢體現在以下一些方面。
首先,我們不僅對于研磨粒度有更高效的裝備研發,而且更深入地致力于影響陶瓷材料質量的一些因素如顆粒表面形貌、粒度分布的專業研究。這樣的思路使我們的裝備更加貼合客戶的實際需求。同時,我們也對現有陶瓷工藝的流程和研磨方式進行改善,材料干磨和濕法研磨相結合的方式,能為客戶大幅降低設備的能耗成本。
目前這些工作都是針對特種陶瓷領域開發的,至于特種陶瓷的發展前景,相對來說,一些較高端的應用仍然是被日本、德國所壟斷,應該來講,我們的發展前景和空間很大,所以我們的材料廠商和設備廠商都需要一起努力。
客戶案例:MLCC原料要研磨至D50=(0.8±0.2)μm,要求粒度分布窄,用SML棒銷式研磨機研磨D50低于0.6um,達不到客戶要求;使用泰賢專用的分散型砂磨機輕松控制粒度分布。

中國粉體網:新冠疫情對無錫泰賢有哪些影響?在抗擊疫情期間,無錫泰賢做了哪些工作去應對疫情的影響?
邊總:新冠疫情造成整體市場需求疲軟,傳統銷售形式受到限制。在這種特殊時期,單靠既有客戶資源是不夠的,因為客戶也受到一定程度的影響。無錫泰賢采取的解決方案有:
(1)穩住既有市場:在市場萎縮時,對于任何一筆訂單,我們都做到盡心盡力,除了按期交貨之外,必須做到超出客戶的期望值。從下訂單后,每兩天用報表向客戶主動匯報進度狀況,讓對方更加清楚自己的訂單狀況,降低客戶時間和精力成本;
(2)在產品質量不變或有所提升的情況下,堅持不漲價:通過尋找更優質的供應商,加強成本的管控;
(3)研發新設備,拓展系列產品:疫情期間是企業修煉內功、提升競爭力的一個機會;
(4)優化內部管理,提高各方效率:這包括了生產、品管、加工、組裝等各個環節;
(5)構筑良好的人際關系,加強新客戶的開發及流失客戶的挽回:主動了解每一位客戶(不管是既有客戶還是潛在的新客戶),銷售管理精益化,看數據,做分析,問題點改善,改善后行成標準;
(6)堅持全員銷售:領導,銷售本身,研發,技術,生產,售后等部門利用機會,全員銷售,充分利用網絡(如微信、企業微信、釘釘、E-mial等)力求克服出行難的問題;
(7)積極開拓海外市場:建立了無錫泰賢粉體英文網站;
(8)加大在網絡媒體上的宣傳力度:定期發布公司的實時動態、產品資料、技術文章和應用知識,利用新媒體營銷的方式,讓客戶逐步加深對無錫泰賢粉體的了解與信賴。
總之,我們希望通過以上各種有效的方案能夠化逆境為動力,抓住實現更大飛躍的機會!
中國粉體網:您怎樣看粉體材料企業和粉體裝備企業之間的關系?對于粉體行業的健康發展,您有何建議?
邊總:這么多年,其實我們也感覺到了一些問題,我們也希望在今后和一些材料廠家的合作上,能夠更緊密,因為很多需求點或者痛點難題都來自于材料廠家,我們裝備廠家實際上是為了解決材料廠家的痛點問題而存在的,所以在這個問題上,雙方的組織關系和服務關系都要建立好。
國內材料廠商和設備廠商雙方都應該尊重知識產權,設備廠商要尊重材料廠商的知識產權,材料廠商也要正確地對待設備廠商的知識產權,要相互理解,相互尊重,后面的合作才會更好,進步也會更快,雙方也會更加信任。
(采編/中國粉體網安振華;文字整理/宋初末)

