金牌會員
已認證
前 言
電化學測量法在測量電化學系統電位、電導和電流等電學量的基礎上,通過探究被測量與被測系統間的相關關系,實現對系統組份的定性和定量分析。常用 的電化學測量法有[1]:恒電流法/恒電勢法、計時電位法/計時電流法、伏安法和交流阻抗法(EIS)。
與其他電化學測量方法相比,電化學阻抗譜不僅對被測系統的原始狀態擾動 更小,而且寬頻率范圍內的阻抗特征能更多地反映系統內部的電化學過程及其包 含的信息。目前,電化學阻抗譜在鋰離子電池領域得到了廣泛應用。大量學者憑借對鋰離子電池EIS的準確測量與分析,實現了對鋰離子電池的多方面探索與研究。本文將以鋰電池的EIS為例對電化學阻抗譜進行分析。
1.電化學阻抗譜基本原理
電化學阻抗譜EIS,也稱為電化學交流阻抗譜,該方法是研究鋰離子電池在電化學性能方面的重要方法。電化學阻抗譜是對系統兩端施加小振幅的正弦電 信號為系統干擾輸入信號,檢測系統輸出電信號,通過對比輸入與輸出電信號得到系統阻抗譜的電化學測量方法,屬于頻域測量方法。由于鋰電池是一個具有線性、穩定性和因果性條件的系統,利用一系列振幅為5mV、0.1Hz-100Hz的不同頻率范圍下正弦電壓信號X進行激勵,得到一個相應頻率的正弦電流響應Y,那么頻域響應函數Z(ω)=X/Y就是所對應頻率的阻抗值,這一系列頻率的阻抗就構成了電池的阻抗譜。
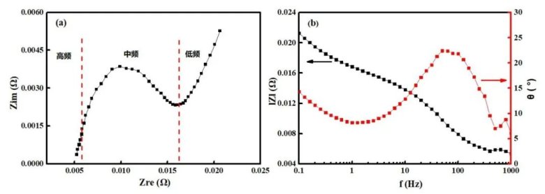
電化學阻抗譜通常采用伯德(Bode)圖和奈奎斯特(Nyquist)圖來表示。其中,Nyquist圖是采用以阻抗實部ZRe為橫軸,負虛部-ZIm為縱軸的坐標系,通過該圖可以較為直觀地反映電化學體系內各個反應過程的時間常數的大小。Bode圖則是顯示相移和幅值隨施加頻率的變化,通常用于測量電子電路的性能和穩定性。圖1為2500mAh磷酸鐵鋰電池的Nyquist圖和Bode圖,該阻抗譜的頻率范圍為0.1Hz~1KHz,從左至右頻率逐漸降低。在1kHz處阻抗的虛部近似為零,隨著頻率的降低,阻抗的實部逐漸增大,而阻抗負虛部出現先增大后減小最后再增大的變化趨勢。EIS曲線由三段曲線構成:高、中頻段的兩個不規則的半圓弧以及低頻段的斜線。通過分析鋰離子電池的電化學過程,可知電池內的不同反應過程對應著的不同曲線:在高頻區域表征鋰離子通過多層及SEI膜的遷移擴散過程的非規則半圓;在中頻區域表征電荷傳遞過程的非規則半圓;低頻區域表征鋰離子在活性電極材料中固態擴散過程的斜直線[2]。

圖1.電化學阻抗譜的Nyquist圖(a)和bode圖(b)
2.電化學阻抗譜解析
2.1 電化學阻抗譜的組成
鋰離子電池中典型的電化學阻抗譜可分為如下的五個部分,如圖2所示:
(1) 超高頻區域(10 kHz以上):與Li+和電子通過電解液、多孔隔膜、導線、活性材料顆粒等輸運有關的歐姆電阻,在EIS譜中表現為一個點,此過程可用一個電阻Rs表示;
(2) 高頻區域:與Li+通過活性材料顆粒表面絕緣層的擴散遷移有關的一個半圓,此過程可用一個Rsei/Csei并聯電路表示。其中,Rsei即為鋰離子擴散遷移通過SEI膜的電阻;
(3) 中頻區域:與電荷傳遞過程相關的一個半圓,此過程可用Rct/Cdl并聯電路表示。Rct為電荷傳遞電阻,或稱為電化學反應電阻,Cdl為雙電層電容;
(4) 低頻區域:與Li+在活性材料顆粒內部的固體擴散過程相關的一條斜線,此過程可用描述擴散的Warburg阻抗Zw表示;
(5) 極低頻區域(<0.01 Hz):與活性材料顆粒晶體結構的改變或新相的生成相關的一個半圓以及Li+在活性材料中的累積和消耗相關的一條垂線組成,此過程可用Rb/Cb并聯電路與Cint組成的串聯電路表示。其中,Rb和Cb為表征活性材料顆粒本體結構改變的電阻和電容,Cint為表征Li+在活性材料累積或消耗的嵌入電容。

圖2.嵌入化合物電極中Li+脫出和嵌入過程中的典型電化學阻抗譜[3]
2.2 等效電路模型
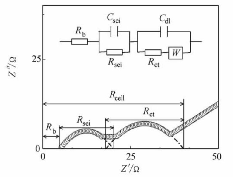
鋰離子電池是一個可以理解為包含電阻、電感和電容的電路系統,等效模型的建立就是把電池簡化為一個電路系統,從而模擬電化學系統中的變化過程。常用的鋰離子電池等效電路模型如圖3所示。與阻抗譜中各頻率阻抗成分相對應,Rs表示歐姆電阻;Rsei和Csei 表示SEI膜的電阻和電容,與高頻部分的半圓對應;Rct 和 Cdl 分別代表電荷傳遞電阻和電雙層電容,與中頻部分半圓對應;W為Warburg阻抗,即鋰離子在電極材料中的擴散阻抗,在復平面上用與實軸呈 45°的直線表示。通常使用Zview、ZSimpWin、EIS300、LEVMW、Impedance spectroscopy、Autolab Nova等數據處理軟件,選擇合適的等效電路模型,對電池的電化學阻抗譜進行擬合,從而得到每個階段對應的阻抗值。

圖3.鋰離子電池阻抗譜和電池等效電路模型[4]
3.應用場景
電化學阻抗譜是研究電化學界面過程的一種重要方法,在電化學領域尤其是鋰離子電池領域具有廣泛的應用,如電導率、表觀化學擴散系數、SEI的生長演變、電荷轉移及物質傳遞過程的動態測量等。具體應用場景如下所示:
(1)電極材料的表征:通過對電極材料在不同電解質中的電化學阻抗譜進行測試,可以評估電極材料的導電性和反應活性,幫助優化電極材料的設計和制備;
(2)鋰離子電池內部電化學過程的研究:電化學阻抗譜可以提供電池內部電化學過程的信息,如電解質的離子遷移、電極材料與電解質之間的電荷傳輸、電化學反應動力學等,有助于優化電池的性能和壽命;
(3)電池的狀態診斷和故障診斷:電化學阻抗譜可以監測電池內部電化學過程的變化,例如電極材料的損失、電解質濃度和溫度的變化等,從而診斷電池的狀態和故障;
(4)電池循環壽命的評估:電化學阻抗譜可以通過測量電池在循環過程中的阻抗變化,評估電池的循環壽命和退化機制,有助于制定電池使用和維護策略;
(5)電池的熱失控特性研究:電化學阻抗譜可以用于研究電池的熱失控特性,如溫度、電流密度和容量等因素對電池阻抗的影響,從而評估電池的安全性能和設計更安全的電池;
(6)電解質的性質研究:電化學阻抗譜可以通過測量電解質的電導率和離子遷移特性,研究電解質的化學和物理性質,例如離子濃度、離子遷移率、離子擴散系數等。
綜上所述可知合理的使用EIS可以幫助研究人員更好的理解電池,提升電池研發水平,對電池性能的研究和應用、電池組系統的管理和應用等均具有重要的現實意義。
4.總結
基于電化學阻抗譜在鋰離子電池中的廣泛應用,元能科技自主研發了一款電化學性能分析儀(圖4),除了常規的充放電功能,該設備還集成了CV(循環伏安)和EIS(電化學阻抗)模塊,可實現電池在循環過程中的EIS測試,如圖5所示。如圖4(b)所示的測試工步,EIS作為一個獨立的測試模塊可以放置在任何工步后面,可實現每循環N圈后測試EIS,或在充電/放電過程中電池到達某SOC后測試EIS,測試過程不需要拆解和搬運電池,提高測試效率和準確性。

圖4.電化學性能分析儀ERT7008(a)和循環EIS測試工步(b)

圖5.電芯循環過程中的EIS數據圖
5.參考文獻
[1] Ning B,Cao B,Wang B,et al.Adaptive Sliding Mode Observers for Lithium-ion Battery State Estimation Based on Parameters Identified Online[J].
[2] 張金龍,佟微,漆漢宏,等.平方根采樣點卡爾曼濾波在磷酸鐵鋰電池組荷電狀態估算中的應用[J].中國電機工程學報,2016,.36(22):6246-6253.
[3] Barsoukov E , Macdonald R J .Impedance Spectroscopy: Theory, Experiment, and Applications[M].Wiley-Interscience, 2005.
[4] Zhang S S, Xu K, Jow T R. Electrochemical impedance study on the low temperature of Li-ion batteries[J]. Electro-chim Acta, 2004, 49 ( 7) : 1057-1061.


