白金會員
已認證
小型氣流磨中旋風分離器的優化設計
趙庭
粉瑞得制藥設備(上海)有限公司 研發部 上海 201108
摘要:近年來,隨著制藥工業技術的飛速發展,超細粉碎技術在藥品深加工中的應用越來越重要。超細粉體由于粒度細、分布窄、質量均勻、缺陷少,因而具有比表面積大、表面活性高、化學反應速度快、溶解度大等特點,藥品經超細粉化后,外用或者內服時均可提高吸收效率、治療效果及利用效率。當改變藥品劑型,做到微米、亞微米及納米級時,藥品可制成針劑使用。在此背景下, 加強對小型氣流磨的應用研究就顯得尤其重要。
關鍵詞:小型氣流磨;旋風分離;物料收集
中圖分類號:TQ172 文獻標識碼:A
Influence of Different Parameters on the small Cyclone Jet Mill Material Collected
Zhao Ting
R&D Department, Frewitt Pharma Machinery (China)Co., Ltd. ,Shanghai 201108,China
Abstract:In recent years, with the rapid development of the pharmaceutical industry technology, ultra-fine grinding technology in the deep processing of drugs it is becoming increasingly important. Since the ultra-fine powder of fine particle size, narrow distribution, uniform quality, fewer defects, and thus has a large surface area, high surface activity, chemical reaction speed, solubility, and other characteristics, when the ultra-fine powder of the drug after topical or oral administration are can increase the absorption efficiency, treatment and utilization efficiency. When changing pharmaceutical dosage forms, do micron, submicron and nanoscale, drug use can be made of injection. In this context, strengthen applied research for small jet mill is particularly important.
Key words: Small jet mill; cyclone; material collection
一、 小型氣流磨
氣流磨粉碎是以顆粒的高速碰撞為主要方式,由于這種作用的瞬時性,使沖擊力以應力波的形式在顆粒中傳播,在材料的自由面、內部裂紋或晶界附近產生很大的拉伸應力以至斷裂,并且顆粒的破壞首先發生在材料結合強度的薄弱處。
制備粉體離不開粉碎設備,氣流粉碎設備能量利用率較一般機械設備高,適用于干法生產超微粉體。氣流磨是一種技術較成熟的干式超細粉碎設備,可省去物料的脫水、烘干等工藝,藥品大多純度高、活性大、分散性好、粒度細分布較窄、顆粒表面光滑,所以氣流磨在粉碎藥品的粉碎應用中很受歡迎。
FJM-100型氣流磨,是粉瑞得制藥設備(上海)有限公司的研發,專門用于各種脆性、結晶體、熱敏性、中低硬度藥品的干法超細粉碎設備。設備整體材質為不銹鋼316L,其中圓形研磨室針對不同物料,設計了不同進氣角度和數量不同的噴嘴環,可保證藥品粉碎到2~20微米。
FJM-100基本參數
腔體尺寸 | 產生能力 | 批次大小 | 用氣量/ 7bar | 用氣量 /10bar |
100mm | Max.8kg | 500g~4000g/h | 260L/min | 420L/min |

圖1 FJM-100小型氣流磨
二、 旋風分離器設計
在氣體流速和進料速度相同的情況下,經過相同研磨室粉碎后:
旋風分離器的進氣口結構,排氣管長度,以及排氣管入口結構不同時,物料收集效率有相當大的差別。
1. 進氣口結構


圖 2 切向進口 圖 3 螺旋進口
旋風分離器的兩種進口形式:切向進口、螺旋入口。
切向進口的旋風分離器結構簡單,容易加工制造,相對比較常。粉碎后的顆粒和氣體的混合體沿著切向口進入除塵器后,氣流大致會出現兩種情況:一是大部分氣流和顆粒的混合體會由于重力作用,會以10°左右傾斜角,向下做螺旋運動。顆粒在旋轉運動過程中,因重力會不斷下落;二是小部分氣流沒有馬上螺旋運動,而是沿著旋風分離器的徑向方向撞擊到分離器內壁,這種直線運動會造成入口的氣流紊亂,本來應被收集的塵粒被裹挾到向上的排出氣流中而逃出分離器。
試驗數據:表1
產品/Product | 食鹽 |
機器/Machine | FJM-100 切向進口型旋風分離器 |
轉子速度/Rotor speed | 進料壓 5.5 KG , 旋轉壓 4.5 KG |
篩網/Sieve | 23o噴嘴環, 進料管調節 10 mm |
進料速度/Dosing speed | 手動加料 |
原料重量/Weight of raw materials | 500 g |
產品重量/Weight of Production | 397g |
收集效率/Collection efficiency | 0.794 |
螺旋進口的旋風分離器結構相對復雜,加工難度大。由于進入螺旋分離器的氣流在螺旋口處不斷收窄,使顆粒向分離器內壁移動減小,同時螺旋的外徑加大了進氣氣流到出氣口的距離,減少了氣流紊亂的機會,有利于顆粒分離。
試驗數據:表2
產品/Product | 食鹽 |
機器/Machine | FJM-100 螺旋進口型旋風分離器 |
轉子速度/Rotor speed | 進料壓 5.5 KG , 旋轉壓 4.5 KG |
篩網/Sieve | 23o噴嘴環, 進料管調節 10 mm |
進料速度/Dosing speed | 手動加料 |
原料重量/Weight of raw materials | 500 g |
產品重量/Weight of Production | 411g |
收集效率/Collection efficiency | 0.822 |
與切向進口形式相比,螺旋進口減少了氣流對桶內氣流的撞擊和干擾,螺旋壓力損失小,是一種比較理想的進口型式。
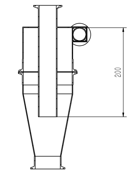
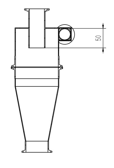
2. 排氣管長度

進入旋風分離的氣體,大部分沿著內壁,由上向下做外螺旋運動,此時旋風分離器的軸心處氣壓較低,錐體底部的一部分氣流會帶著細小的顆粒向上沿著軸心旋轉,形成內螺旋,到達排氣管后,沿排氣管排出。
圖4 旋風分離器氣流圖


圖 5 長度200mm 圖 6 長度50mm
當排氣管長度距離錐體底部較近時,容易造成細小的顆粒的返混排出。
試驗數據:表3
產品/Product | 食鹽 |
機器/Machine | FJM-100 螺旋進口型旋風分離器 |
排氣管長度/Length of Exhaust pipe | 200mm |
轉子速度/Rotor speed | 進料壓 5.5 KG , 旋轉壓 4.5 KG |
篩網/Sieve | 23o噴嘴環, 進料管調節 10 mm |
進料速度/Dosing speed | 手動加料 |
原料重量/Weight of raw materials | 500 g |
產品重量/Weight of Production | 411g |
收集效率/Collection efficiency | 0.822 |
當排氣管長度略低于進氣口高度時,細小顆粒返混排出的機率會大大降低,因高度低于進氣口,也不會造成入口處的氣流紊亂。
試驗數據:表4
產品/Product | 食鹽 |
機器/Machine | FJM-100 螺旋進口型旋風分離器 |
排氣管長度/Length of Exhaust pipe | 50mm |
轉子速度/Rotor speed | 進料壓 5.5 KG , 旋轉壓 4.5 KG |
篩網/Sieve | 23o噴嘴環, 進料管調節 10 mm |
進料速度/Dosing speed | 手動加料 |
原料重量/Weight of raw materials | 500 g |
產品重量/Weight of Production | 448g |
收集效率/Collection efficiency | 0.896 |
以上試驗數據分析,應該加大排氣管入口到錐體底部的距離,減小細小顆粒二次返混排出機會,排氣管插入錐體的深度應略低于進風口。
3. 排氣管入口結構
在排氣管直徑和深入錐體的長度都相同的情況下,下端的入口型式的不同也會對物料的手機效率產生影響。


圖 7 直口結構 圖 8 錐口結構
排氣管入口結構為直口時,含細小顆粒的螺旋上升的氣體在向頂部流動時,幾乎遇不到任何阻力。
試驗數據:表5
產品/Product | 食鹽 |
機器/Machine | FJM-100 螺旋進口型旋風分離器 |
排氣管長度/Length of Exhaust pipe | 50mm |
轉子速度/Rotor speed | 進料壓 5.5 KG , 旋轉壓 4.5 KG |
篩網/Sieve | 23o噴嘴環, 進料管調節 10 mm |
進料速度/Dosing speed | 手動加料 |
原料重量/Weight of raw materials | 500 g |
產品重量/Weight of Production | 448g |
收集效率/Collection efficiency | 0.896 |
排氣管入口為錐形時,上升的氣流遇到這個收縮形式的結構時,流動的阻力會增大,上升的顆粒隨氣流排出的機率會降低。
產品/Product | 食鹽 |
機器/Machine | FJM-100 螺旋進口型旋風分離器 |
排氣管長度/Length of Exhaust pipe | 50mm |
轉子速度/Rotor speed | 進料壓 5.5 KG , 旋轉壓 4.5 KG |
篩網/Sieve | 23o噴嘴環, 進料管調節 10 mm |
進料速度/Dosing speed | 手動加料 |
原料重量/Weight of raw materials | 500 g |
產品重量/Weight of Production | 466g |
收集效率/Collection efficiency | 0.932 |
與入口結構是直口的排氣管相比,錐形結構的排氣管既不影響排氣效率,又增加了物料的收集效率,是比較好的排氣管入口結構方案。
三、 結束語
在氣流磨的研發改進上,國內外都有一些進展。在制藥行業對小型氣流磨的需求和要求日益提高。
為了滿足客戶對氣流磨的物料收集效率的要求,我對現有旋風分離器做了旋風分離器的進氣口結構,排氣管長度,以及排氣管入口結構的技術改進。通過數次的試驗和數據分析,旋風分離已經滿足目前的需求。
參考文獻
[1]劉康康. 氣流磨中膠粉粉碎過程及低溫粉碎系統優化[D].大連理工大學,2015.
[2]王巍. 旋風分離器結構原理分析[J]. 工業技術,2014.
[3]晉克勤,張忠全. 旋風分離器分離性能的數據值預測[J]. 貴州大學學報(自然科學版),2011,28(05).
[4]吳冉. 旋風分離器進出口結構改進的研究進展[J]. 廣東化工,2011,38:168-169.
[5]高翠芝,孫國剛,董瑞茜.旋風分離器旋風長度的分析技術[J]. 石油學報,2012,28(1).


